Ide memiliki Apple Car cukup menggiurkan, meski persaingan di pasar kendaraan listrik semakin meningkat. Bukan rahasia lagi bahwa Apple Car telah dikembangkan selama beberapa waktu, meskipun perusahaan hanya memiliki sedikit bukti.
Meskipun ada banyak produk yang bisa menjadi “hal besar berikutnya”, termasuk kacamata Apple dan headset VR / AR Apple, Apple Car juga dapat mengambil mahkota itu. Dan meskipun mungkin tampak aneh bagi perusahaan komputer untuk mulai membuat mobil, Apple bukanlah satu-satunya perusahaan yang melakukannya. Namun, sepertinya Apple Car tidak akan datang dalam waktu dekat.
Ide memiliki Apple Car sangat menggiurkan, bahkan dengan semakin kompetitifnya pasar kendaraan listrik. Bukan rahasia lagi bahwa penjualan iPhone telah stabil dalam beberapa tahun terakhir dan Apple membutuhkan “hal besar berikutnya” untuk membuat dunia terobsesi.
Mobil Apple bisa menjadi hal itu, terutama jika rumor itu benar, dan mobil itu akan sepenuhnya otonom. Rumor telah beredar selama bertahun-tahun, tetapi kami tidak pernah benar-benar mendengar apa pun yang resmi dari Apple. Tapi kita masih tahu bahwa Apple Car ada, meskipun mungkin tidak akan datang untuk beberapa waktu.
Tapi ini bukan sembarang mobil. Apple dilaporkan sedang mengerjakan mobil self-driving yang sepenuhnya otonom. Meskipun itu bukan hal baru, Apple Car dikatakan sebagai salah satu yang dapat Anda beli dan simpan di garasi Anda daripada sesuatu yang Anda bayangkan dari sebuah aplikasi. Ini akan menjadi masalah besar jika Apple dapat melakukannya.
Detailnya masih cukup langka saat ini, tetapi prospek untuk mendapatkan Apple Car dalam beberapa tahun telah membuat banyak orang bersemangat. Jika Anda salah satunya dan ingin tahu lebih banyak, Anda berada di tempat yang tepat. Inilah semua yang kami ketahui tentang Apple Car, termasuk kebocoran, rumor, dan tanggal rilis yang sangat penting.
Berita Terbaru Apple Car
- Startup kendaraan listrik Canoo berada dalam masalah keuangan dan sebuah laporan baru menunjukkan bahwa itu bisa diakuisisi oleh Apple untuk mengerjakan Apple Car.
- Apple Car baru saja mengambil langkah maju, menurut laporan Bloomberg yang mengatakan veteran Ford Desi Ujkashevic telah beralih ke Apple.
- Analis Ming-Chi Kuo mengatakan tim pengembangan Apple Car telah dibubarkan dan perombakan cepat diperlukan jika akan diluncurkan pada 2025.
- Sebuah laporan baru mengatakan Apple telah bermitra dengan perusahaan Korea OSAT untuk mengembangkan chip untuk kemampuan mengemudi otonom Apple Car, yang menyerupai autopilot Tesla.
Apple Car : Rumor tentang tanggal rilis
Hingga saat ini, Apple belum secara eksplisit mengomentari Apple Car dan kapan kami mungkin bisa mengendarainya. Jika Anda dapat menelepon menggunakan mobil self-driving, ini dia.
Laporan terbaru oleh Mark Gurman dari Bloomberg mengatakan Apple sedang mempertimbangkan peluncuran pada 2025. Cupertino dilaporkan telah mempercepat pengembangan proyek setelah beberapa penundaan dan garis waktu ini akan cocok dengan beberapa laporan sebelumnya tentang kapan Apple Car bisa tiba. . .
Namun, itu masih merupakan tujuan yang cukup ambisius, dan kemungkinan besar Apple akan dengan senang hati menunda peluncuran jika tidak memenuhi standar tinggi perusahaan.
Untuk pengembangannya sendiri, laporan terbaru mengklaim bahwa Apple telah memutuskan untuk mengelola pengembangan Apple Car sendiri daripada bermitra dengan pembuat mobil berpengalaman. Perusahaan jelas berusaha menghindari penundaan lebih lanjut yang dapat disebabkan oleh kemitraan dengan pihak ketiga.
Kita harus mengambil semua rumor ini dengan skeptis, karena pembuatan mobil jauh lebih sulit daripada desain smartphone. Namun, segala sesuatunya tampak cukup optimis bahwa kita akan melihat Apple Car dalam waktu dekat, meskipun itu jelas tidak akan menjadi salah satu produk yang diluncurkan Apple pada tahun 2022.
Fitur Apple Car
Apple Car tidak akan menjadi mobil listrik khas Anda, tetapi akan sepenuhnya otonom dan mengemudi untuk Anda. Untuk berkeliling, mobil akan dilengkapi dengan sensor LiDAR yang membantunya “melihat” dunia di sekitarnya.
Apple tidak asing dengan LiDAR, setelah memasukkannya ke dalam beberapa iPhone dan iPad Pro kelas atas, dan semua yang kami lihat menunjukkan bahwa itu juga akan datang ke Apple Car.
LiDAR adalah singkatan dari “Light Detection and Ranging” dan sistem ini bekerja dengan mengirimkan laser berdenyut. Laser tersebut akan memantulkan sensor mobil ketika mengenai objek dan, menggunakan informasi itu, akan membentuk gambar objek apa yang ada di area sekitarnya dan seberapa jauh jaraknya.
Tapi LiDAR digunakan oleh hampir semua mobil self-driving. Faktanya, hanya Tesla yang menyerah pada LiDAR demi sistem visi komputer.
Dengan pemikiran itu, Apple Car perlu memiliki beberapa kekuatan komputasi di belakangnya, dan sebuah laporan oleh analis Colin Barnden menunjukkan itu semua bisa berasal dari chip “C1”. Menurut Barnden, ini akan didasarkan pada A12 Bionic di iPhone XS dan akan mencakup fitur-fitur yang berfokus pada kecerdasan buatan.

Namun, MacRumors mencatat bahwa laporan ini sangat spekulatif dan agak aneh jika Apple Car ditenagai oleh chip yang akan berusia enam tahun pada tahun 2024. A12 sangat kuat, tetapi Apple memiliki lebih banyak chip dengan kinerja dan kinerja yang lebih baik. tampaknya tidak mungkin.memilih perangkat keras tua seperti itu.
Sebaliknya, Mark Gurman melaporkan bahwa Apple akan mengembangkan chip paling canggih untuk digunakan di Apple Car. Chip tersebut dikatakan terutama terdiri dari prosesor saraf untuk memberi daya pada semua algoritma kecerdasan buatan yang dibutuhkan mobil jika benar-benar mengemudi sendiri.
Gurman juga mengatakan Apple akan fokus pada desain interior, karena Apple Car seharusnya “bebas genggam” dan itu mencakup sistem infotainment dan integrasi dengan rangkaian layanan Apple yang ada.
Apa yang benar-benar membedakan Apple Car, dari apa yang kami dengar, adalah teknologi baterai sel tunggalnya. Ini dilaporkan memaksimalkan ukuran sel di dalam baterai Apple Car, yang secara teoritis berarti Anda mendapatkan lebih banyak jangkauan dengan sekali pengisian daya.
Laporan juga menyatakan bahwa Apple juga akan menggunakan lithium iron phosphate dalam baterainya, daripada larutan lithium-ion biasa, yang cenderung tidak terlalu panas. Ini, pada gilirannya, harus membuat mobil jauh lebih aman.

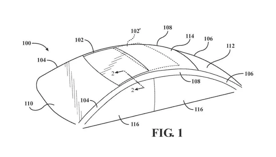
Paten baru juga mengungkapkan informasi pertama tentang kemungkinan desain. Apple Car dapat dilengkapi dengan sistem yang menawarkan “opacity variabel” yang, seperti Magic Sky dari Mercedes, memungkinkan pengemudi untuk mengontrol jumlah cahaya yang melewati langit-langit. Paten tersebut juga menyebutkan bahwa atap ini bisa dibuka, sedangkan Mercedes tidak, dan bisa ditarik kembali saat jendela samping dibuka.
Apple Car Autonomus drive
Salah satu rumor lama Apple Car adalah bahwa itu akan menjadi semacam mobil self-driving. Namun, tidak pernah jelas apakah ini jangkauan terbatas, seperti sistem mengemudi otonom Level 2 saat ini di jalan, atau apakah Apple membidik mobil self-driving sejati yang tidak memerlukan interaksi manusia.
Sebuah laporan dari TheElec menyatakan bahwa Apple telah bermitra dengan perusahaan Outsourced Semiconductor Assembly and Test (OSAT) di Korea Selatan untuk mengembangkan chip untuk sistem mengemudi otonom Apple Car. Namun, laporan tersebut membandingkannya dengan Autopilot Tesla, yang jauh dari mengemudi otonom sejati.
Namun menurut laporan Bloomberg Mark Gurman, Apple telah mengerjakan kedua sistem, tetapi baru-baru ini menggabungkan pekerjaan tersebut menjadi satu mobil self-driving terpadu.
Tujuannya tampaknya untuk mengembangkan pengalaman berkendara “bebas genggam” yang tidak akan dimiliki oleh pengemudi manusia untuk mengendalikan mobil. Sistem tingkat 5 otonom dengan kata lain. Dengan pemikiran ini, Cupertino mempekerjakan insinyur untuk menguji dan mengembangkan fitur keselamatan yang memungkinkan sistem seperti itu diizinkan di jalan.
Dikatakan juga bahwa Apple sedang mencari insinyur perangkat lunak untuk mengembangkan “eksperimen interaksi manusia dengan teknologi otonom,” dengan fokus pada pengalaman di dalam mobil. Karena orang membutuhkan sesuatu untuk dilakukan saat mereka tidak mengemudi.
Tidak sepenuhnya jelas apakah ini akan membuat Apple Car menjadi mesin untuk dimiliki, atau apakah itu layanan seperti Uber untuk dipuji. Rumor sebelumnya menyatakan bahwa itu akan menjadi yang pertama, tetapi bagaimanapun itu akan menjadi perubahan besar bagi pengendara modern.
Di mana Apple Car sedang dibangun?
Apple, seperti yang diketahui banyak orang, adalah perusahaan komputasi yang sama sekali tidak memiliki pengalaman membangun dan menjual mobil. Jadi prospek membangun mobil Apple itu sendiri menggelikan.
Manufaktur aktual kemungkinan akan dialihdayakan ke perusahaan lain dengan semua sumber daya yang sudah relevan. Meskipun tidak ada kekurangan dari pembuat mobil, telah dilaporkan bahwa banyak dari mereka yang enggan bermitra dengan Apple Car.
Merek-merek besar jelas tidak ingin berakhir dengan nama “Foxconn untuk industri otomotif,” sebuah referensi ke perusahaan Taiwan yang terkenal karena membuat iPhone dan produk lain untuk perusahaan tersebut.
Saat ini, favorit untuk membangun Apple Cars dikabarkan adalah LG dan pembuat suku cadang mobil Kanada Magna. Magna memiliki fasilitas manufaktur di seluruh dunia, jadi tidak jelas mana yang akan digunakan untuk membangun Apple Car.
Sementara itu, Apple dilaporkan telah meminta mitra baterai mana pun untuk memproduksi baterai mobil Apple di Amerika Serikat, yang tampaknya telah menyebabkan hubungan buruk antara Cupertino dan beberapa mitra potensial China.
Awal tahun ini, dilaporkan bahwa Hyundai adalah favorit untuk Apple Car, meskipun sejak itu telah dilaporkan bahwa Hyundai tidak terlalu tertarik untuk mengembangkan mobil yang dinamai orang lain. Untuk alasan, anak perusahaan Kia diperkenalkan sebagai pengganti, kabarnya dengan tujuan memproduksi Mobil Apple di pabriknya di Georgia.
Untungnya, las conversaciones se rompieron después de que se menyaring berita kemungkinan acuerdo, dengan Apple “menghentikan” percakapan las dan membidik hacia otro lado. Dia telah memiliki informes de que el acuerdo de Kia no está sepenuhnya muerto, aunque no hemos escuchado nada positive en ese frente en los meses posteriores.
Ming-Chi Kuo también afirmó que Apple jika dikaitkan dengan Hyundai para usar su plataforma de vehículos eléctricos dengan baterai E-GMP. Ini akan membentuk dasar sasis primer Apple Car. También se dijo que Apple estaba mempertimbangkan asosiasi dengan General Motors y el fabricante de automóviles European PSA, que pueden ayudar al lanzamiento de Apple Car en los mercados internacionales.
Tak satu pun dari asosiasi potensial ini tampaknya berhasil. Apple dikabarkan sedang mencari perusahaan Korea Selatan untuk menyediakan komponen untuk membangun Apple Car, selain baterai. Jika laporan sebelumnya tentang kondisi manufaktur Apple di AS benar, perusahaan kemungkinan masih mempertimbangkan untuk merakit Apple Car di AS.
Berita terbaru yang kami miliki adalah bahwa Apple mungkin mempertimbangkan untuk mengakuisisi startup Canoo, yang bertujuan untuk memulai produksi kendaraan listrik pertamanya tahun ini. Laporan tersebut menunjukkan bahwa Apple tidak tertarik pada teknologi perusahaan dan lebih tertarik pada staf teknisnya. Namun, koneksi produksi apa pun yang dapat ditawarkan Canoo kemungkinan besar akan menjadi keuntungan.
Apple Car : Seperi apakah tampaknya?
Karena kita berada dalam siklus pengembangan Apple Car, ini masih cukup awal, tidak banyak gambar yang mengungkapkan seperti apa mobil yang dirancang Apple. Jadi kami memiliki desainer konsep yang melangkah maju untuk menjembatani kesenjangan antara imajinasi dan kenyataan.

Salah satu desain paling berani yang pernah kami lihat sejauh ini berasal dari desainer Leasefecher, yang merilis serangkaian render yang membayangkan mobil Apple berdasarkan produk Apple yang populer. Contoh favorit kami mengambil Nissan GT-R dan memasangkannya dengan iPhone 12 Pro, tetapi ada konsep Leasefetcher lain yang mengambil inspirasi dari iMac dan iPod asli.

Vanaram juga telah mengembangkan model 3D dari kemungkinan desain Apple Car, yang klaimnya didasarkan pada paten resmi Apple. Namun, kami tidak ragu bahwa Apple Car akan terlihat sangat berbeda, karena desain ini sama jeleknya dengan dosa.
Ia juga memiliki tiga pedal dan gril depan yang besar, keduanya akan menentang banyak rumor bahwa Apple Car akan menjadi kendaraan serba listrik.
Apple Car : Sejarah Perkembangan
Sejarah mobil Apple dimulai pada tahun 2014 dengan nama “Project Titan”, mungkin dengan tujuan untuk merilisnya ke publik pada tahun 2020. Tentu saja ini tidak pernah terjadi, tetapi laporan tampaknya menunjukkan bahwa beberapa kemajuan sedang dibuat. dalam membuat Apple Car menjadi kenyataan.
Kami melihat sekilas beberapa jenis kendaraan yang berafiliasi dengan Apple, mungkin menguji teknologi mengemudi otonom, di seluruh California. Apple selalu menyimpan detail itu di dekat mereka, seperti yang mereka lakukan dengan yang lainnya, jadi kami tidak memiliki kata resmi tentang apa yang dilakukan mobil-mobil ini.
Yang kami tahu pasti adalah bahwa mobil-mobil ini bukanlah kendaraan yang sama yang digunakan perusahaan untuk mengumpulkan data untuk Apple Maps.
Konon, mempekerjakan insinyur seperti Mercedes, Tesla, dan pembuat mobil besar lainnya menegaskan Cupertino memiliki semacam ambisi otomotif. Tetapi PHK besar-besaran menunjukkan bahwa pengembangan Apple Car tidak sepenuhnya berjalan mulus.
Gelombang pertama dilaporkan datang pada tahun 2016, sementara 200 lainnya mengundurkan diri dari proyek pada Januari 2019. Tidak jelas apa yang terjadi, meskipun telah disarankan bahwa manajemen tidak benar-benar tahu di mana proyek itu mobil otonom. aku pergi.
Sebuah laporan Bloomberg juga melaporkan bahwa Apple Car kehilangan tiga eksekutif pada awal tahun 2021. Dave Scott, yang memimpin tim robotika, Jaime Waydo, yang memimpin tim keselamatan dan regulasi mengemudi sendiri, ditambah Benjamin Lyon, yang membantu membentuk tim asli Apple Car. untuk semua tahun itu. di belakang. Ini diperparah dengan hilangnya veteran industri otomotif Doug Field, yang mengawasi proyek Apple Car, untuk bersaing dengan pembuat mobil Ford.
Beberapa bulan kemudian, Apple membeli Desi Ujkashevic dari Ford, menurut laporan Bloomberg. Ujkashevic adalah veteran produsen mobil selama 31 tahun dan telah terlibat dalam pengembangan berbagai kendaraan Ford, termasuk interior, eksterior, sasis, dan sistem kelistrikan. Baru-baru ini, dia adalah direktur global teknik keselamatan otomotif, yang akan menjadi penting dalam hal mengemudi secara otonom.
Mempertimbangkan laporan bahwa ribuan karyawan telah bekerja di Apple Car, PHK dan keberangkatan ini tidak mungkin berdampak serius pada pengembangan. Tentu saja, kita tidak tahu pasti, dan kita mungkin tidak akan pernah tahu, bahkan jika Apple Car tiba di pertengahan dekade.
Apple Car : Pernyataan dari Apple
Apple umumnya tidak membicarakan produk yang belum dirilis, dan Apple Car tidak terkecuali. Namun, Tim Cook menegaskan bahwa industri otomotif telah menggelitik minat Apple, mengisyaratkan rencana otomotif perusahaannya selama penampilan di podcast Sway Kara Swisher.
“Kami menyelidiki begitu banyak secara internal,” kata Cook. “Banyak dari mereka tidak pernah melihat cahaya hari. Saya tidak mengatakan satu tidak akan.”
Lebih menggembirakan lagi, Cook tampaknya menyarankan bahwa Apple seharusnya beralih ke mobil, tidak puas hanya dengan merancang konfigurasi perangkat lunak dan menyerahkannya kepada produsen mobil. “Kami suka mengintegrasikan perangkat keras, perangkat lunak, dan layanan dan menemukan titik persimpangannya karena kami pikir di situlah keajaiban terjadi,” kata Cook. “Dan itulah yang kami sukai. Dan kami senang memiliki teknologi utama yang mengelilingi kami.”
Tomsguide.com
Humy Media Berita Terbaru & Terpercaya